22+ John Deere 214 Parts Diagram
It is a complete catalog that shows you detailed. 200210212214 216 lawn garden tractors with our free parts lookup tool.
 		 		 		
 	Weingartz 	
3-4 business days and I have them.
. Web John Deere Deluxe Steering Wheel Spinner Knob - 2000 Logo - TY26583. John Deere Zero Turn. Equipment Finance Parts Service.
Equipment Finance Parts Service. Web John Deere 214 Electrical Components Exploded View parts lookup by model. Web John Deere Lawn Mower Parts.
Web Find parts diagrams for your John Deere equipment. John Deere 200 210. 1 2 Next Page View All View All.
Search easy-to-use diagrams and. Complete exploded views of all the major manufacturers. 200210212214 216 lawn garden tractors with our free parts lookup tool.
Web Find parts for your john deere transaxle gear case assembly. John Deere Deluxe Steering Wheel Spinner Knob - 2000 Logo - TY27749. Lawn Garden Tractors published in 1986 by John Deere.
Produced between 1975 and 1987 the John Deere 214 is a small duty mowing tractor from John Deeres factory in Horicon Wis. Web For me it is just easier for me to get parts from JD. Web The Jensales Team is excited to bring you this 156 page Parts Manual for the John Deere 214 Lawn Garden Tractor.
I order them on line from the JDparts site and pick them up at the dealer. Deals of the DayRead Ratings ReviewsFast ShippingShop Best Sellers. Web Find parts for your john deere steering gear.
Products 46 Sort by. Introducing the John Deere lawn and. Search our parts catalog order parts online or contact your John Deere dealer.
John Deere Standard Lift Mower Blades for Tractors Equipped with 39 41 Mower three required - M41237. Web Repair parts lookup and OEM diagrams for outdoor equipment like Toro lawn mowers Cub Cadet tractors Husqvarna chainsaws Echo trimmers Briggs engines. Web Find parts diagrams for your John Deere equipment.
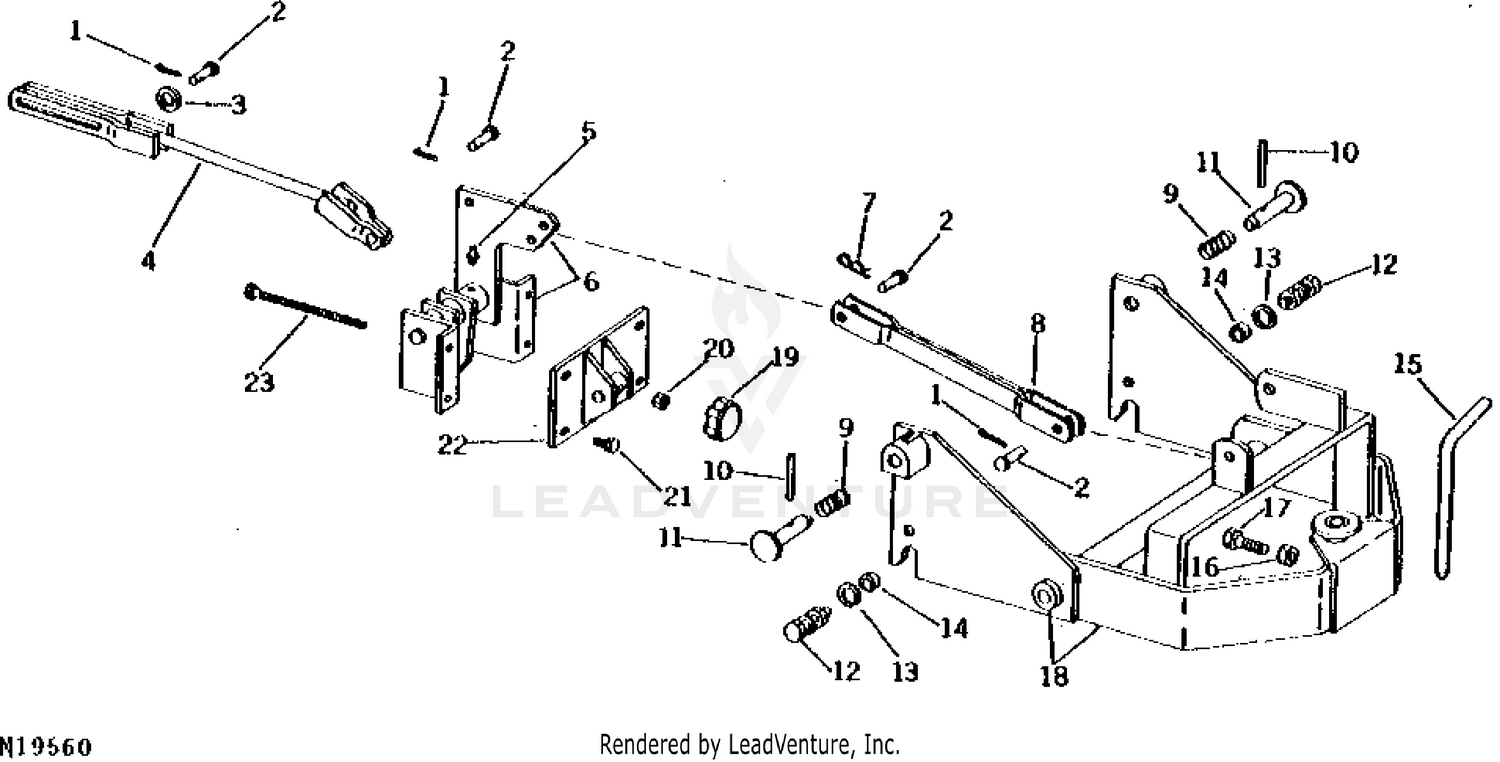
John Deere parts lookup tool and diagram is an incredible online source. Web Find parts for your john deere 214 lawn garden tractor with our free parts lookup tool. John Deere Lawn and Garden Tractor Parts.
John Deere 214 Electrical. 855-669-7278 My Store Ann Arbor Cedar Springs Clarkston Farmington Hills. When writing about or filling out warranty claims use all thirteen numbers letters and spaces.
Web John Deere Shaft Key - 26H77. Web John Deere Accessories and Other Parts. Web Repair parts lookup and OEM diagrams for outdoor equipment like Toro lawn mowers Cub Cadet tractors Husqvarna chainsaws Echo trimmers Briggs engines.
Web Search easy-to-use diagrams and enjoy same-day shipping on standard John Deere parts orders. A historically accurate parts manual is essential when. Web When ordering parts use only the six-digit serial number.
John Deere 200 210 212 214 216. Web John Deere 214 Replacement Parts List. 855-669-7278 My Store Ann Arbor Cedar Springs Clarkston Farmington Hills Utica Shipping Returns Policy.
Web John Deere 214 Parts Diagrams. Search easy-to-use diagrams and enjoy same-day shipping on standard John Deere. Web Find your genuine John Deere OEM parts here.
3-Wiring Diagram For 210 212 214 and 216 Tractors Serial No. John Deere Lawn Tractor Parts. Web John Deere Parts Lookup -John Deere-214 TRACTOR -PC1473.
Search easy-to-use diagrams and enjoy same-day. John Deere 200 210 212 214 216. Parts Lookup - Enter a part number or partial description to search for parts within this model.
There are 5 parts used by this model. Web Lawn Garden Tractors published in 1985 by John Deere. Search our parts catalog order parts online or contact your John Deere dealer.
 		 		 		
 	2 	
 		 		
 		
 	Youtube 	
 		 		
 		
 	John Deere 	
 		 		
 		
 	John Deere 	
 		 		 		
 	2 	
 		 		 		
 	2 	
 		 		 		
 	Weingartz 	
 		 		
 		
 	Ebay 	
 		 		 		
 	2 	
 		 		 		
 	Weingartz 	
 		 		
 		
 	Tractordata Com 	
 		 		
 		
 	Ehow 	
 		 		 		
 	Weingartz 	
 		 		 		
 	Weingartz 	
 		 		
 		
 	Green Farm Parts 	
 		 		
 		
 	Youtube 	
 		 		
 		
 	Jacks Small Engines